Account
Winkelmand
0
Mobile menu
Home
Onderdelen
Verzenden en bezorgen
Garantie en statiegeld
Over ons
Contact
Nederlands
Engels
Product toegevoegd aan winkelwagen
Verder winkelen
Direct naar winkelmand
Account
Winkelmand
0
Home
Onderdelen
Verzenden en bezorgen
Garantie en statiegeld
Over ons
Contact
Nederlands
Engels
© 2026 Hobo parts Brakel - Realisatie Rosegaar.nl
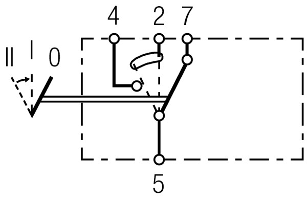
Schakelaar
Home
/
Elektronica & Sensoren
/
Schakelaar
Product informatie:
Artikelnummer
6RH 007 832-551
Toetsactivering
Schommelactivering
4 aansluiting(en)
Combi-schakelfunctie
zonder comfortfuncties
Onderdeelnummers:
Fabrikant:
HELLA
Geschikt voor: